立即搜索

直线导轨又一应用于精密数控机床上的夹紧制动装置

日期:03-01  点击:  属于:技术文章
直线导轨又一应用于精密数控机床上的夹紧制动装置 线轨滑块在各行业中得到了非常广泛、普及的应用,如机床机械、化工机械、纺织机械、动车高铁以及建筑服务行业等,广泛的应用也带来了更多、更特殊的要求,对于线轨滑块的夹紧、制动、刹车便成为了一个普遍而又特殊的要求。
直线导轨又一应用于精密数控机床上的夹紧制动装置
 
线轨滑块在各行业中得到了非常广泛、普及的应用,如机床机械、化工机械、纺织机械、动车高铁以及建筑服务行业等,广泛的应用也带来了更多、更特殊的要求,对于线轨滑块的夹紧、制动、刹车便成为了一个普遍而又特殊的要求。



设有左座体
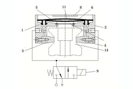
1、右座体 2、左锁紧片 3、右锁紧片 4、上弹簧钢片 5、下弹簧钢片 6、弹簧片 7、限位凸台 8 和电磁阀 9,左座体和右座体相对镜像设置,左座体和右座体上方中心设有限位凸台 8,左座体 1 和右座体 2 经弹簧片 7 固定连接,左座体 1 和右座体 2 上端中心设有弹簧钢片腔 12,下端中心设有线轨滑块移动腔 13,下端一侧与左锁紧片 3固定连接,另一侧与右锁紧片 4固定连接,左座体 1 和右座体 2 外侧壁上分别设有气体通道 10,限位凸台分别与左座体和右座体固定连接,左锁紧片 3 和右锁紧片 4 相对设置,以利于对线轨滑块进行夹紧制动,弹簧钢片腔内设有由上弹簧钢片 5 和下弹簧钢片 6 周边密封连接而形成弹簧伸缩囊 11,弹簧伸缩囊 11 一端与左座体 1 固定连接,另一端与右座体 2 固定连接,上端与限位凸台 8 相抵触,下端与弹簧片 7 相抵触,弹簧伸缩囊 11 上设有压缩空气出入口,气体通道 10 一端与压缩空气出入口相连通,另一端与气源相连通,以使弹簧伸缩囊 11内填充有压力气体,气体通道 10上设有电磁阀 9,以利于通过电磁阀 9自动控制弹簧伸缩囊 11 内的气体含量,使弹簧伸缩囊 11 带动左座体 1 和右座体 2 相对移动或相背移动,进而实现自动调整左锁紧片 3 和右锁紧片 4 对线轨滑块进行自动夹紧制动的作用。


左锁紧片 2 和右锁紧片 3 可根据不同钳夹要求更换不同形状、尺寸和材质,当需要静态钳夹时,左锁紧片 3 和右锁紧片 4 可选用工具钢等材质的金属,当需要沿着线轨滑块相对运动时,如附图 所示,左锁紧片 3 和右锁紧片 4 可选用特殊合金材质的金属,使用时,与线轨滑块 14 相配合,线轨滑块上部位于线轨滑块移动腔中,左锁紧片 3 与线轨滑块左侧相对应,右锁紧片 4 与线轨滑块右侧相对应,左座体和右座体分别固定在带移动的设备上,与线轨滑块相对移动时,压缩空气经气体通道 10 和气体通道 10 上的电磁阀 9 控制,进入弹簧伸缩囊 11 中,弹簧伸缩囊 11 的上弹簧钢片 5 和下弹簧钢片 6 在气体的冲击下产生形变,使上弹簧钢片 5 和下弹簧钢片 6 在竖直方向的距离逐渐变大,水平方向的尺寸逐渐变小,带动左座体 1 和右座体 2 上部相对靠近,进而带动左座体 1 下部的左锁紧片 3 和右座体下部的右锁紧片 4 逐渐脱离线轨滑块,这样,线轨滑块就可以自由移动 ;当需要刹车制动时,如附图所示,压缩空气从弹簧伸缩囊 11中经电磁阀 9 排出,弹簧伸缩囊 11 的上弹簧钢片 5 和下弹簧钢片 6 借助自身弹力回复初始位置状态,在竖直方向尺寸变小,水平方向尺寸变大,带动左座体 1 和右座体 2 上部相背运动,并带动左座体下部的左锁紧片 3 和右座体下部的右锁紧片 4 分别相对运动并靠向线轨滑块两侧的锁紧面,达到夹紧制动的作用。

微信扫描关注我们
工作时间: 周一至周五 9:00-18:00

联系人:金先生

手机:13926819578

电话:0755-23590836

邮件:sales@ycxs.net

地址:深圳市龙华区环观南路创客大厦1122(深圳办公室);工厂:东莞市清溪镇清樟路88号港影时尚产业园4A栋1001